Essays.club - Получите бесплатные рефераты, курсовые работы и научные статьи
Поиск

Контрольная робота по "Основам конструирования программ"

Автор:   •  Май 25, 2022  •  Контрольная работа  •  742 Слов (3 Страниц)  •  343 Просмотры

Страница 1 из 3

Министерство образования Республики Беларусь

Учреждение образования

БЕЛОРУССКИЙ ГОСУДАРСТВЕННЫЙ УНИВЕРСИТЕТ
ИНФОРМАТИКИ И РАДИОЭЛЕКТРОНИКИ

Факультет компьютерных технологий

Кафедра инженерной психологии и эргономики

Дисциплина: Основы конструирования программ

КОНТРОЛЬНАЯ РАБОТА

Студент:  гр.________

Руководитель: к.т.н.

Минск 2022


Содержание

1.        Анализ задания        3

2.        Разработка алгоритма        4

3.        Разработка программы        7


1.        Анализ задания

Первая часть задания

Динамически создать массив размера n (n вводится с клавиатуры) и заполнить его случайными числами из диапазона [a, b] (a, b вводятся с клавиатуры). Заполнение массива реализовать с помощью функции.

Вторая часть задания

4.        Сдвинуть все элементы массива влево на move_left позиций с помощью функции (значение move_left вводится с клавиатуры). Дополнительных массивов не использовать.


2.        Разработка алгоритма

На рисунках 1 – 4 показаны функции проекта

[pic 1]

Рисунок 1 – Главная функция проекта

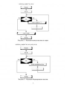
[pic 2]

Рисунок 2 – Функция вывода массива на экран

[pic 3]

Рисунок 3 – Функция Формирования массива

[pic 4]

Рисунок 4 – Функция сдвига элементов массива


3.        Разработка программы

Листинг кода программы

// DinMas.cpp : Defines the entry point for the console application.

//

#include "stdafx.h"

#include <iostream>

#include <cstdlib>

#include <ctime>

using namespace std;

void show_mas(int *arr, int n)        //Вывод массива на экран

{

        for (int i=0; i<n; i++)

                cout << arr[i] << " ";

        cout << endl;

}

void form_mas(int *arr, int a, int b, int n)        //формирование массива

...

Скачать:   txt (4.2 Kb)   pdf (215.8 Kb)   docx (104.9 Kb)  
Продолжить читать еще 2 страниц(ы) »
Доступно только на Essays.club