Essays.club - Получите бесплатные рефераты, курсовые работы и научные статьи
Поиск

Разработка технологии производств зефира с добавлением сливового пюре производительностью 350 кг/ч

Автор:   •  Июнь 21, 2023  •  Дипломная работа  •  7,807 Слов (32 Страниц)  •  321 Просмотры

Страница 1 из 32

Ф.7.54 -01

МИНИСТЕРСТВО НАУКИ И ВЫСШЕГО ОБРАЗОВАНИЯ РЕСПУБЛИКИ КАЗАХСТАН

ЮЖНО-КАЗАХСТАНСКИЙ УНИВЕРСИТЕТ ИМ. М.АУЭЗОВА

[pic 1]

Высшая школа: Текстильная и пищевая инженерия

Кафедра: Пищевая инженерия

Кожахметова Мадина

ДИПЛОМНАЯ РАБОТА

На тему: « Разработка технологии производств зефира с добавлением сливового пюре производительностью 350 кг/ч»

Шымкент, 2023 год[pic 2]

Ф.7.54 -03

МИНИСТЕРСТВО НАУКИ И ВЫСШЕГО ОБРАЗОВАНИЯ РЕСПУБЛИКИ КАЗАХСТАН

ЮЖНО-КАЗАХСТАНСКИЙ УНИВЕРСИТЕТ ИМ. М.АУЭЗОВА

Высшая школа Текстильная и пищевая инженерия

Кафедра: Пищевая инженерия

«Допущен к защите»

Заведующий кафедрой

_______к.т.н, доцент Иманбаев А. Ж.

«____»________3035г.

ДИПЛОМНАЯ  РАБОТА

На тему: «Разработка технологии производств зефира с добавлением сливового пюре производительностью 350 кг/ч»

»

по ОП6В07353–«Технология сахаристых веществ и сахарных кондитерских изделий»

Выполнила                                                                    Кожахметова М

Научный руководитель

магистр, ст.преподаватель                                           А.К. Джанмулдаева

Нормоконтроль                                                                           М. К. Касымова

к.х.н., профессор

Шымкент, 2023[pic 3]

Ф.7.54 -05

МИНИСТЕРСТВО НАУКИ И ВЫСШЕГО ОБРАЗОВАНИЯ РЕСПУБЛИКИ КАЗАХСТАН

ЮЖНО-КАЗАХСТАНСКИЙ УНИВЕРСИТЕТ им. М.О. АУЭЗОВА

Кафедра:                             Пищевая инженерия_________________________

ОП: 6В07353 - «Технология сахаристых веществ и сахарных кондитерских изделий» 

«УТВЕРЖДАЮ»

Заведующий кафедрой

________Иманбаев А.Ж.

 «____» _________ 3035г.

ЗАДАНИЕ № __

на выполнение дипломной работы (проекта)

Студентке____ Кожахметова М.__________Группа___ЖТ-19-6тр______

Тема работы (проекта)__ Разработка технологии производств зефира с добавлением сливового пюре производительностью 350 кг/ч ________

Утверждено приказом по университету №_511 с от 31.10.3033_______________

Исходные данные к работе_технология производства зефира

Перечень подлежащих разработке в дипломной работе вопросов

1. Разработать технологию производства зефира с добавлением сливого пюре

5.Проведение экспериментальных исследований

4.Подобрать и рассчитать основное и дополнительное оборудование

Содержание дипломной работы

п/п

Разделы

Количество страниц

Дата выполнения

задания

Введение

3-5

10.05.3035 – 50.05.3035

1

Литературная часть

15-15

06.01.3035 – 30.01.3035

3

Экспериментальная часть

18-30

31.01.3035 – 04.03.3035

5

Технологическая часть

9-10

06.03.3035 – 30.03.3035

Заключение

1,5-3

31.03.3035 – 07.05.3035

Список использованной литературы

1,5-3

03.04.3035 – 18.04.3035

Итого

45-50

Перечень графического материала

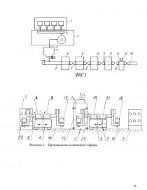
1. Технологическая линия производства зефира с добавлением сливого пюре

...

Скачать:   txt (104.1 Kb)   pdf (535 Kb)   docx (311.5 Kb)  
Продолжить читать еще 31 страниц(ы) »
Доступно только на Essays.club