Essays.club - Получите бесплатные рефераты, курсовые работы и научные статьи
Поиск

Экспериментальные исследования

Автор:   •  Март 3, 2022  •  Лекция  •  1,770 Слов (8 Страниц)  •  299 Просмотры

Страница 1 из 8

Глава 4. ЭКСПЕРИМЕНТАЛЬНЫЕ ИССЛЕДОВАНИЯ

4.1. Цели и методы экспериментальных исследований.

        

Целью проведения экспериментальных исследований является подтверждение соответствия расчетных показателей с опытными данными.

По аналогии с методикой проведения испытаний односкоростных двигателей, испытания ДД с ППО проводилось на каждой частоте вращения в соответствии с нижеследующей программой и действующих стандартов.

Программа и методика проведения испытаний:

– проверка изоляции обмоток статора относительно корпуса двигателя и между обмотками (ГОСТ 11828–86 п.6);

– измерение сопротивления обмотки в холодном состоянии при постоянном токе (ГОСТ 11828–86 п.3, 7217 –87 п.2);

– определение тока и потерь холостого хода (ГОСТ 7217–87 п.4);

– определение тока и потерь короткого замыкания (ГОСТ 7217–87 п.5);

– определение коэффициента полезного действия, коэффициента мощности и скольжения (ГОСТ 11828–86 п.2, 7217–87 п.7, 25941–83 п.2,3);

 испытание на кратковременную перегрузку по току (ГОСТ 11828–86 п.5);

– определение максимального вращающего момента (ГОСТ 7217–87 п.8, 11828–86 п.2,11);

Для качественной оценки предлагаемого ДД с ППО в диссертационной работе экспериментально определены рабочие и механические характеристики при каждой полюсности.

4.2. Описание лабораторной установки.

Для проведения экспериментальных испытаний в лаборатории кафедры «Электроснабжение» ТашГТУ была изготовлена лабораторная установка (рис. 4.1), за основу которой принята система генератор–двигатель (Г–Д).

Данная установка позволяет испытывать двигатели со скоростью вращения до 3000 об/мин с высотой оси 80÷160 мм, снять плавные характеристики испытуемого двигателя как в генераторном, так и в двигательном режимах (плавное увеличение и сброс нагрузки, разгон испытуемого двигателя, резкое переключение полюсов и т.д.), а также проследить изменения фазного напряжения и тока во всех трех фазах одновременно в тех случаях, когда необходимо изучение асимметрии фазных обмоток.

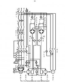
На рис. 4.2. показана принципиальная схема лабораторной установки.

В нее включены следующие основные элементы:

  1. Экспериментальная модель АД1 с ППО типа 4А100L6/8УЗ, сочлененная с двигателем постоянного тока ДПТ1 типа П–41–У4 (Рн=3,2 кВт, Uн=220 В, Iн=18,5 А, η=78%, n=1500 об/мин);

 [pic 1]

  1. Наборная панель с выводами от начала и конца каждой ветви (всего 24 вывода–клеммы; из них 18 от 9 основных ветвей трехфазных звезд и 6 от 3 дополнительных ветвей), предназначенная для обеспечения возможности выполнения соединений между ветвями и подключения измерительной аппаратуры.
  2. Тахогенератор (ЭТ–7/110Уз, n=2000 об/мин, класс точности 2,5), находящийся на одном валу с испытуемым двигателем и служащий для измерения скорости его вращения.
  3. Нагрузочный агрегат, состоящий из двигателя постоянного тока ДПТ2, обмотка якоря которого соединена с обмоткой якоря аналогичного двигателя постоянного тока ДПТ1 и асинхронного двигателя АД2 (АО2–91–4–УЗ, Рн=7 кВт и n=1500 об/мин).
  4. Лабораторные автотрансформаторы АТ2 и АТ3 (АОСН–4–220–82УХЛ4, 4А, 240В), служащие для изменения напряжения подводимого к двум диодным мостам VD1–4 и VD5–8, выпрямляющих переменное напряжение в цепях обмоток возбуждения ОВД1 и ОВД2 двигателей постоянного тока.
  5.  Индикаторные лампы HL1–HL8 (ТСМ–Ш–УЗ–О, 220В, 10Вт), служащие для индикации включения установки, асинхронных двигателей, двигателей постоянного тока и обмоток их возбуждения.
  6. Переключатель пакетный SAC1 (ПК–Уз, 10А, 500В), служащий для переключения скоростей вращения исследуемого двигателя с ППО.
  7. Магнитные пускатели К1 и К2 (ПМЕ–211, 380В, 32А), служащие для включения асинхронных двигателей АД1 и АД2.
  8.  Автоматический выключатель SF1 (АСТ–3), служащий для подачи питания на лабораторную установку.
  9.  Измерительные приборы:

А1–А4 – амперметры переменного тока типа Э 378, класс точности 1,5;

V1–V4 – вольтметры переменного тока типа Э 378, класс точности 1,5;

А5– амперметр постоянного тока типа М 104, класс точности 0,5;

V5– вольтметр постоянного тока типа М 903, класс точности 1,0;

А6–А7 – амперметры постоянного тока типа М 381, класс точности 1,5;

V6–V7 – вольтметры постоянного тока типа М 381, класс точности 1,5;

...

Скачать:   txt (25.6 Kb)   pdf (536.6 Kb)   docx (645.3 Kb)  
Продолжить читать еще 7 страниц(ы) »
Доступно только на Essays.club