Essays.club - Получите бесплатные рефераты, курсовые работы и научные статьи
Поиск

Проектирование низковольтного устройства

Автор:   •  Декабрь 6, 2018  •  Курсовая работа  •  3,585 Слов (15 Страниц)  •  612 Просмотры

Страница 1 из 15

1.        ЗАДАНИЕ НА КУРСОВОЙ ПРОЕКТ:

1. Предварительные расчеты.

      1.1 Для линии с асинхронным двигателем рассчитать номинальный, пусковой и                                     ударный пусковой ток.

     1.2 Выбрать сечение и тип кабелей, соединяющих потребители с питающим   трансформатором.

     1.3  Заполнить таблицу параметров кабелей и определить их сопротивления.

    1.4  Рассчитать токи  короткого замыкания.

    1.5  Определить ударный ток короткого замыкания на выводах электродвигателя.

    1.6  Проверить условие нормального пуска двигателя.

2.         Выбор электрических аппаратов управления и защиты.

  2.1 Описать работу схемы управления асинхронным двигателем .

  1. Составить задание для выбора аппаратов, используемых в схеме.
  2. Выбрать аппараты защиты и управления.
  3. Провести проверку всех выбранных аппаратов.
  4. Построить пусковую характеристику двигателя и характеристики выбранных аппаратов.
  5. Проверить термическую стойкость кабеля.

   3.  Конструкторская часть проекта.

 3.1  Составить заказ на комплектацию НКУ.

     3.2  Разместить выбранные аппараты в щите.

3.3  Провести маркировку кабелей согласно принципиальной схеме.


                     2.        Исходные данные:

1.        Мощность питания трансформатора                                        Sном= 400 кВА

2.        Напряжение короткого замыкания                                        Uк%= 5,5

3.        Соотношение сопротивлений питающей системы и

трансформатора                                                                Xc/Xт= 0,2

4.        Длина соединительных кабелей                                                l1  = 20м

                                                                                        l2= 12м

                                                                                                                                 l3=8м

5.        Материал кабеля                                                                Cu

6.         Номинальная мощность                                                                            45кВт

7.         Коэффициент полезного действия                                        92,5 %.

8.        Номинальное линейное напряжение                                        Uном.л.= 380 В

9.        Кратность пускового тока двигателя                                        кi= 6

10.        Время пуска двигателя                                                        tп= 5 с

11.        Коэффициент мощности                                                        cosφ = 0,86

12.      Номинальный ток нагрузки 3й линии                                                       35 А

Активные и реактивные сопротивления трансформатора S=400кВА, соединение обмоток треугольник / звезда:

Активные и индуктивные сопротивления трансформатора:          

Индуктивные сопротивления обмоток                                                  x=x=17 мОм

Индуктивное сопротивление                                                             xОТ=17 мОм

Активное сопротивление обмоток                                                r1T=r2T=5,9 мОм

Магнитные потери                                                                           rОТ=5,9 мОм


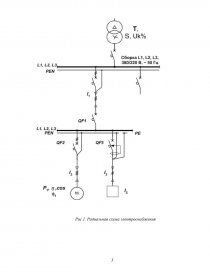
[pic 1]

Рис.1. Радиальная схема электроснабжения


1.        Предварительный расчет цепи питания асинхронного двигателя

  1. Расчет токов:

Электродвигатель в нормальном режиме работы характеризуется номинальным током двигателя Iном.дв и пусковым током Iпуск.двиг, которые рассчитываются по известным соотношениям.

Номинальный ток двигателя будет равен:

[pic 2]

где        Рном – номинальная мощность двигателя, кВт;

Uном.л  - номинальное линейное напряжение на обмотке;

ηном – коэффициент полезного действия при номинальном моменте на валу двигателя;

...

Скачать:   txt (30.5 Kb)   pdf (496.1 Kb)   docx (301.2 Kb)  
Продолжить читать еще 14 страниц(ы) »
Доступно только на Essays.club