Essays.club - Получите бесплатные рефераты, курсовые работы и научные статьи
Поиск

Контрольная работа по "Электротехнике"

Автор:   •  Март 1, 2018  •  Контрольная работа  •  1,632 Слов (7 Страниц)  •  923 Просмотры

Страница 1 из 7

Контрольная работа

Вариант№9

Задание №1

 Для электрической цепи постоянного тока, параметры которой приведены в таблице, выполнить:

- чертеж схемы замещения цепи;

- расчет токов во всех ветвях методом узловых напряжений;

- проверку правильности расчета по условию баланса мощности;

- построение потенциальной диаграммы для произвольного контура.

 Таблица исходных данных

==========================================================

N п/п Наименование ветви R ( Ом ) Е ( В )

==========================================================

1         1 -->-- 6                         60.0         0.0

2        2 -->-- 7                         27.0         15.0

3         1 -->-- 3                         25.0         14.0

4         2 -->-- 6                         23.0         13.0

5         5 -->-- 7                         21.0         12.0

6         1 -->-- 5                         20.0         11.0

7         2 -->-- 5                         18.0         10.0

8         5 -->-- 6                         17.0         0.0

9         2 -->-- 4                         71.0         0.0

10         2 -->-- 3                         32.0         18.0

11         1 -->-- 4                         29.0         17.0

==========================================================

Узел с наибольшим номером принять за базисный, напряжение в котором известно и равно нулю. Направление э.д.с. ветви в таблице показано стрелкой.

Дано:

[pic 1]

[pic 2]

Решение:

[pic 3]

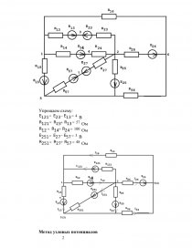
Упрощаем схему:

[pic 4]B

[pic 5]Ом

[pic 6]Ом

[pic 7]В

[pic 8]Ом

[pic 9]

Метод узловых потенциалов

Узловые проводимости:

[pic 10]См

[pic 11]См

[pic 12]См

[pic 13]См

[pic 14]См

[pic 15]См

Узловые токи:

[pic 16]А

[pic 17]А

[pic 18]А

Составляем систему уравнений

[pic 19]

Решаем систему уравнений и получаем узловые потенциалы:

[pic 20]B

[pic 21]B

[pic 22]B

Токи равны:

[pic 23]A

[pic 24]A

[pic 25]A

[pic 26]A

[pic 27]A

[pic 28]A

[pic 29]А

[pic 30]А

Баланс мощностей

Мощность источников:

[pic 31]Вт

Мощность приемников:

[pic 32]Вт

Баланс мощности сходится.

            Потенциальная диаграмма

        [pic 33]

        [pic 34]В

        [pic 35]В

        [pic 36]В

        [pic 37]В

        Строим ее:

[pic 38]


Задание №2

 Электроприемники 3-х фазной 4-х проводной сети, соединенные по схеме "звезда с нулевым проводом", подключены к источнику переменного синусоидального тока с номинальным напряжением 36.0 B и частотой 7.0 Гц кабельной линией с алюминиевыми жилами сечением 10.0 кв.мм, длиной 31.0 м.

Параметры фазных электроприемников:

Параметры фазных электроприемников

R ( Ом )

L ( mГн )

C ( мкФ )

Фаза A

19.0

600

3500

Фаза B

16.0

350

2100.0

Фаза C

14.0

450

1600

Выполнить:

1. чертеж схемы замещения цепи;

...

Скачать:   txt (10.7 Kb)   pdf (1.4 Mb)   docx (1.4 Mb)  
Продолжить читать еще 6 страниц(ы) »
Доступно только на Essays.club