Essays.club - Получите бесплатные рефераты, курсовые работы и научные статьи
Поиск

3Dсцена для проведення віртуальних конференцій

Автор:   •  Февраль 10, 2022  •  Практическая работа  •  1,766 Слов (8 Страниц)  •  523 Просмотры

Страница 1 из 8

МІНІСТЕРСТВО ОСВІТИ І НАУКИ УКРАЇНИ

СУМСЬКИЙ ДЕРЖАВНИЙ УНІВЕРСИТЕТ

КАФЕДРА КОМП’ЮТЕРНИХ  НАУК

СЕКЦІЯ ІНФОРМАЦІЙНИХ ТЕХНОЛОГІЙ ПРОЕКТУВАННЯ

Обов’язкове домашнє завдання

З дисципліни «Управління ІТ-проектами»

на тему: «3Dсцена для проведення віртуальних конференцій»

Виконав                                                студент групи ІТ-72

                                                        Меший Тихон Сергійович

Перевірив                                                Неня Віктор Григорович

Суми 2020


Оглавление

ІДЕНТИФІКАЦІЯ МЕТИ ІТ-ПРОЕКТУ        3

Ідентифікація ідеї проекту        3

Деталізація мети методом SMART        3

Дослідження продукту ІТ-проекту, організації, ринку, регіону        4

Дослідження проекту в соціально-економічному, технічному, комерційному, економічному, фінансовому, соціально-інституційному аспектах        4

Оцінка цінності, життєздатності, економічної ефективності та життєсталості ІТ-проекту        4

Підготовка оціночного висновку        4

Планування змісту структури робіт ІТ-проекту (WBS)        6

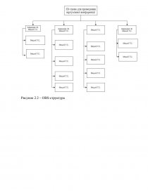
Планування структури організації, для впровадження готового проекту (OBS)        7

Побудова матриці відповідальності        9

Побудова календарного графіку виконання ІТ-проекту        10

Управління ризиками проекту        12

Формування бюджету проекту        15


Тема дипломного проекту: «3Dсцена для проведення віртуальних конференцій»

Мета проекту:Створити модель сцен для віртуальної конференції .

ІДЕНТИФІКАЦІЯ МЕТИ ІТ-ПРОЕКТУ

Розробкаконцепції проекту

Ідентифікація ідеї проекту.

Головна мета проекту – розробка сцени для віртуальної конференції.

Деталізація мети методом SMART

Можна досягти успіху завдяки SMART техніці постановки цілей, ця техніка формує модель поведінки, виробляє стійкі правила життєвої позиції. Розглянемо детальніше інформацію за кожним з пунктів у таблиці 1.1.

Таблиця 1.1 – Деталізація мети методом SMART

Specific

(конкретна)

Розробити 3D модель сцени для вебконференції.

Measurable

(вимірювання)

Оскільки даний проект не є комерційним, то результатом його роботи є оцінка замовника.

Achievable

(досяжна, узгоджена)

Ціль даного проекту вважається досяжною, оскільки розробник володіє необхідними навичками у створенні моделі для веб конференції. Мета була узгоджена з вимогами та потребами замовника.

Relevant

(реалістична)

Для реалізації продукту проекту є всі необхідні програмні засоби(3DsMAX), доступдомережі Інтернет. Розробник досить кваліфікований для виконання поставлених задач.

Time-framed

(обмежена в часі)

3D модель розроблюється з обмеженням у часі на основі сформованої діаграми Ганта .

Дослідження продукту ІТ-проекту, організації, ринку, регіону

3Dмодель дає змогу учасникам конференції поспілкуватися під час пандемії.

Дана модель дуже важлива, адже вона дає змогу  не виходячи з дому відвідати конференцію . Таким чином будуть досягнуті цілі.

Дослідження проекту в соціально-економічному, технічному, комерційному, економічному, фінансовому, соціально-інституційному аспектах

У соціально-економічному аспекті модель буде мати попит при проведенні конференцій .

У технічному аспекті модель дозволить пришвидшити обмін інформацією .

У комерційному та фінансовому аспекті є можливість співпраці з компаніями  на основі оплачуваного партнерства

Оцінка цінності, життєздатності, економічної ефективності та життєсталості ІТ-проекту

Цінність – це особисте сприйняття зацікавленими сторонами здібностей продукту проекту створювати вигоди в соціальному, політичному, економічному та духовному аспектах їх життєдіяльності завдяки унікальним властивостям продукту проекту.

...

Скачать:   txt (25.3 Kb)   pdf (279.4 Kb)   docx (90.4 Kb)  
Продолжить читать еще 7 страниц(ы) »
Доступно только на Essays.club