Essays.club - Получите бесплатные рефераты, курсовые работы и научные статьи
Поиск

Электротехниканын теориялык негiздерi

Автор:   •  Март 3, 2023  •  Практическая работа  •  520 Слов (3 Страниц)  •  336 Просмотры

Страница 1 из 3

                           Коммерциялық емес акционерлік қоғам

                 Алматы Энергетика және Байланыс Университеті

                Электротехниканың теориялық негіздері кафедрасы

           ЭЛЕКТРОТЕХНИКАНЫҢ ТЕОРИЯЛЫҚ НЕГІЗДЕРІ 1

                              №1 Есептік сызбалық жұмыс

Орындаған: Асылбекұлы Ерлан

Мамандығы: Электроэнергетика

Тобы: ЭЭк-21-18

Нұсқа: А60

Қабылдаған: Смагулова Г

                                                  Алматы 2022

Есептеу-сызбалық жұмысын орындау үшін  берілген мәліметтер

, B[pic 1]

, B[pic 2]

, B[pic 3]

, B[pic 4]

, B[pic 5]

, B[pic 6]

0

150

0

250

130

100

, Ом[pic 7]

, Ом[pic 8]

, Ом[pic 9]

, Ом[pic 10]

, Ом[pic 11]

60

50

80

20

60

J, A

Токты есептеуі

5

[pic 12]

[pic 13]

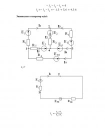
2.20 сурет

Идеал ток көзін ЭҚК ауыстырамыз

ET =R4*J=20*5=100 B

                                                                             

[pic 14]                [pic 15][pic 16]

           

ЕT және Е4 ЭҚК–і көздерін  Е  эквивалент көзімен ауыстырамыз:

 + ET =250+100=350[pic 17][pic 18]

[pic 19]

Өзгерген сұлбаны сызамыз және токтарға бағыт береміз:

[pic 20]

        

а) Кирхгоф заңдары бойынша теңдеу жүйесін құрамын

Кирхгофтың бірінші заңы үшін теңдеулер:

Теңдеулер саны  Y=-1=4-1=3[pic 21]

1-түйін: [pic 22]

2-түйін: [pic 23]

3-түйін: [pic 24]

Кирхгофтың екінші заңы үшін теңдеулер:

Теңдеулер саны K=[pic 25]

1-2-4-1: [pic 26]

4-2-3-4: [pic 27]

1-4-3-1: [pic 28]

б) Контурлық токтар және түйіндік потенциалдар әдістерімен барлық тармақтарда токты есептеміз:

[pic 29]

Контурлық токтар әдісі:

[pic 30]

[pic 31]

[pic 32]

Кедергілердің және ЭҚК мәндерін қоямын:

[pic 33]

[pic 34]

...

Скачать:   txt (3.7 Kb)   pdf (170.9 Kb)   docx (626.2 Kb)  
Продолжить читать еще 2 страниц(ы) »
Доступно только на Essays.club