Контрольная работа по "Бухгалтерскому учету"
Автор: KoSA • Декабрь 30, 2018 • Контрольная работа • 602 Слов (3 Страниц) • 981 Просмотры
Вариант 11
Задание № 1
На основании приведенных данных составить журнал хозяйственных операций за месяц, где указать корреспонденцию счетов по каждой операции; открыть счета аналитического и синтетического учета, отразить на этих счетах хозяйственные операции способом двойной записи, подсчитать обороты и конечные остатки, составить оборотную ведомость по счетам аналитического учета и оборотную ведомость по счетам синтетического учета, а также заполнить баланс на начало и конец отчетного периода по форме № 1 бухгалтерской отчетности.
Остатки по синтетическим счетам
№ | Наименование синтетического счета | Сумма в рублях |
1 2 3 4 5 6 7 8 9 10 | Основные средства Амортизация основных средств Нематериальные активы Амортизация нематериальных активов Материалы Расчетные счета Незавершенное производство Уставный капитал Задолженность по зарплате Задолженность поставщикам | 10 000 2 000 4 000 1 000 1 000 3 000 3 000 16 000 1 000 1 000 |
Расшифровка остатка по синтетическому счету «Расчеты с поставщиками»
Наименование | Сумма в рублях |
Фирма «Эгрос» Фирма «Прогресс» Горэнерго | 100 300 600 |
Хозяйственные операции за месяц
№ | Содержание операции | Дебет | Кредит | Сумма в рублях |
1 | Принята к учету краска, приобретенная организацией у фирмы «Эгрос» | 10 | 60 | 100 |
2 | Оплачен счет фирмы «Эгрос» | 60 | 51 | 100 |
3 | Отпущена краска на отделку офиса | 26 | 10 | 50 |
4 | Начислена рабочим зарплата за отделку офиса | 26 | 70 | 300 |
5 | Произведены начисления по социальному страхованию и обеспечению | 26 | 69 | 114 |
6 | Начислена амортизация здания офиса | 26 | 02 | 200 |
7 | Приобретен пакет программ по бух. учету. Акцептован счет поставщика (фирмы «Прогресс») | 08 | 60 | 1000 |
8 | Оплачен счет фирмы «Прогресс» | 60 | 51 | 1000 |
9 | Пакет программ принят в эксплуатацию | 04 | 08 | 1000 |
10 | Начислена амортизация по нематериальным активам (права) | 26 | 05 | 50 |
11 | Общехозяйственные расходы в полном объеме списаны на производство | 20 | 26 | 714 |
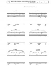
Синтетические счета
счет № 01 | счет № 02 | |||||||
Основные средства | Амортизация основных средств | |||||||
Дебет | Кредит | Дебет | Кредит | |||||
№ опер. | Сумма,руб. | № опер. | Сумма,руб. | № опер. | Сумма,руб. | № опер. | Сумма,руб. | |
с-до | 10 000 |
|
|
|
| с-до | 2 000 | |
| 6) | 200 | ||||||
|
| |||||||
|
| |||||||
|
| |||||||
|
| |||||||
|
| |||||||
|
| |||||||
Оборот | 0 | Оборот | 0 | Оборот | 0 | Оборот | 200 | |
с-до | 10 000 |
| с-до | 2200 | ||||
счет № 04 | счет № 05 | |||||||
Нематериальные активы | Амортизация нематериальных активов | |||||||
Дебет | Кредит | Дебет | Кредит | |||||
№ опер. | Сумма,руб. | № опер. | Сумма,руб. | № опер. | Сумма,руб. | № опер. | Сумма,руб. | |
с-до | 4 000 |
|
|
|
| с-до | 1 000 | |
9) | 1000 |
| 10) | 50 | ||||
|
| |||||||
|
| |||||||
|
| |||||||
|
| |||||||
|
| |||||||
|
| |||||||
Оборот | 1000 | Оборот | 0 | Оборот | 0 | Оборот | 50 | |
с-до | 5000 |
| с-до | 1050 | ||||
счет № 08 | счет № 10 | |||||||
Вложения во внеоборотные активы | Материалы | |||||||
Дебет | Кредит | Дебет | Кредит | |||||
№ опер. | Сумма,руб. | № опер. | Сумма,руб. | № опер. | Сумма,руб. | № опер. | Сумма,руб. | |
с-до | 0 |
|
| с-до | 1 000 |
|
| |
7) | 1000 | 9) | 1000 | 1) | 100 | 3) | 50 | |
|
| |||||||
|
| |||||||
|
| |||||||
|
| |||||||
|
| |||||||
|
| |||||||
Оборот | 1000 | Оборот | 1000 | Оборот | 100 | Оборот | 50 | |
с-до | 0 |
| с-до | 1050 |
| |||
счет № 20 | счет № 26 | |||||||
Основное производство | Общехозяйственные расходы | |||||||
Дебет | Кредит | Дебет | Кредит | |||||
№ опер. | Сумма,руб. | № опер. | Сумма,руб. | № опер. | Сумма,руб. | № опер. | Сумма,руб. | |
с-до | 3 000 |
|
|
|
|
|
| |
11) | 714 |
| 3) | 50 | 11) | 714 | ||
| 4) | 300 |
| |||||
| 5) | 114 |
| |||||
| 6) | 200 |
| |||||
| 10) | 50 |
| |||||
|
| |||||||
Оборот | 714 | Оборот | 0 | Оборот | 714 | Оборот | 714 | |
с-до | 3714 |
|
| |||||
счет № 51 | счет № 60 | |||||||
Расчетные счета | Расчеты с поставщиками и подрядчиками | |||||||
Дебет | Кредит | Дебет | Кредит | |||||
№ опер. | Сумма,руб. | № опер. | Сумма,руб. | № опер. | Сумма,руб. | № опер. | Сумма,руб. | |
с-до | 3 000 |
|
|
|
| с-до | 1 000 | |
2) | 100 | 2) | 100 | 1) | 100 | |||
8) | 1000 | 8) | 1000 | 7) | 1000 | |||
|
| |||||||
|
| |||||||
Оборот | 0 | Оборот | 1100 | Оборот | 1100 | Оборот | 1100 | |
с-до | 1900 |
| с-до | |||||
счет № 69 | счет № 70 | |||||||
Расчеты по соц.страхованию и обеспечению | Расчеты с персоналом по оплате труда | |||||||
Дебет | Кредит | Дебет | Кредит | |||||
№ опер. | Сумма,руб. | № опер. | Сумма,руб. | № опер. | Сумма,руб. | № опер. | Сумма,руб. | |
|
| с-до | 0 |
|
| с-до | 1 000 | |
5) | 114 | 4) | 300 | |||||
|
| |||||||
|
| |||||||
Оборот | 0 | Оборот | 114 | Оборот | 0 | Оборот | 300 | |
с-до | 114 | с-до | 1300 | |||||
счет № 80 | ||||||||
Уставный капитал | ||||||||
Дебет | Кредит | |||||||
№ опер. | Сумма,руб. | № опер. | Сумма,руб. | |||||
|
| с-до | 16 000 | |||||
| ||||||||
| ||||||||
| ||||||||
| ||||||||
Оборот | 0 | Оборот | 0 | |||||
с-до | 16000 | |||||||
Аналитические счета | ||||||||
счет № 60 | счет № 60 | |||||||
Расчеты с поставщиками и подрядчиками | Расчеты с поставщиками и подрядчиками | |||||||
Фирма "Эгрос" | Фирма "Прогресс" | |||||||
Дебет | Кредит | Дебет | Кредит | |||||
№ опер. | Сумма,руб. | № опер. | Сумма,руб. | № опер. | Сумма,руб. | № опер. | Сумма,руб. | |
|
| с-до | 100 |
|
| с-до | 300 | |
2) | 100 | 1) | 100 | 8) | 1000 | 7) | 1000 | |
|
| |||||||
|
| |||||||
|
| |||||||
|
| |||||||
Оборот | 100 | Оборот | 100 | Оборот | 1000 | Оборот | 1000 | |
с-до | с-до | |||||||
счет № 60 | ||||||||
Расчеты с поставщиками и подрядчиками | ||||||||
Горэнерго | ||||||||
Дебет | Кредит | |||||||
№ опер. | Сумма,руб. | № опер. | Сумма,руб. | |||||
|
| с-до | 600 | |||||
| ||||||||
| ||||||||
| ||||||||
Оборот | 0 | Оборот | 0 | |||||
с-до |
Оборотная ведомость за период
по счёту 60 «Расчёты с поставщиками и подрядчиками»
Наименование поставщика или подрядчика | Сальдо на начало месяца | Обороты за месяц | Сальдо на конец месяца | |||
дебет | кредит | дебет | кредит | дебет | кредит | |
Фирма «Эгрос» | 100 | 100 | 100 | 100 | ||
Фирма «Прогресс» | 300 | 1000 | 1000 | 300 | ||
Горэнерго | 600 | 600 | ||||
Итого по счёту 60: | 1000 | 1100 | 1100 | 1000 |
...